使用“扫一扫”即可将网页分享至朋友圈。
再度领衔A股涨幅榜,这两只次新股一度冲击30cm涨停!游资炒作热情高涨,券商:北交所网下打新可持续关注
点蓝字关注,不迷路~

来源:北证资讯
9月29日北交所次新股继续发威,硅烷科技盘中一度涨停,中纺标则最高冲至涨29.04%,距离涨停仅一步之遥。这两只股票收盘涨幅分别为28.67%、16.57%,分别居A股涨幅榜第一、二位,游资炒作迹象明显。
根据北交所的安排,十一长假过后,新股市场依然热闹。例如,10月10日就有倍益康、迅安科技携手上会;夜光明启动申购;中科美菱公布发行结果;以及新芝生物则正式登陆北交所。申银万国证券认为,虽然北交所新股的流动性不及沪深交易所,但不乏优质标的,网下打新可持续关注。

两只次新股再度爆涨
北交所次新股9月29日延续强势,两只次新股盘中表现勇猛,涨幅冠绝整个大A股市场,居于第一、二位。
(今天A股涨幅前十的股票)
9月28日登陆北交所的硅烷科技,上市首日即飙涨1.49倍,次日则再度冲高,盘中一度上封30cm涨停。随后虽然反复打开涨停,但收盘大涨28.67%,换手率达44.90%。以29日收盘价计,较发行价5.66元已经暴涨2.2倍!目前硅烷科技市值达到56.73万元,在北交所114只股票中排名第五,仅次于贝特瑞、连城数据、吉林碳谷和颖泰生物4只北交所白马股。
申银万国证券认为,硅烷科技作为今年北交所网下询价第一股,因其核心技术壁垒较高,叠加下游光伏、半导体、面板等的需求高景气,受到二级市场高度认可,上市首日股价表现亮眼,且单只网下申购收益率高达2.99%,成为目前为止北交所网下申购收益最高的一家新股。
而9月27日上市的中纺标,由于可流通的发行前老股仅仅为5000股,是名副其实的袖珍流通股,因而得到游资偏爱。该股今天高开高走,盘中一度拉升至最高涨幅29.04%,距离涨停仅一步之遥,全日换手率达53.01%。中纺标上市首日即暴涨1.5倍,目前收盘价较发行价也已上涨1.06倍。
北交所公开信息显示,这两只次新股均登上龙虎榜,游资炒作热情依然高涨。
硅烷科技的买方榜5家营业部均买入超过500万元,西部证券西安沣镐东路证券营业部、东方财富证券拉萨团结路第二证券营业部和东方财富证券慈溪三北西大街证券营业部分别买入622.54万元、581.95万元和552.57万元。不过经过一轮暴涨之后,其卖方抛售力度更大,南京证券宁波锦寓路证券营业部卖出7376.64万元,A股市场的知名游资华泰证券深圳益田路荣超商务中心证券营业部买入254.99万元的同时抛出2238.71万元。
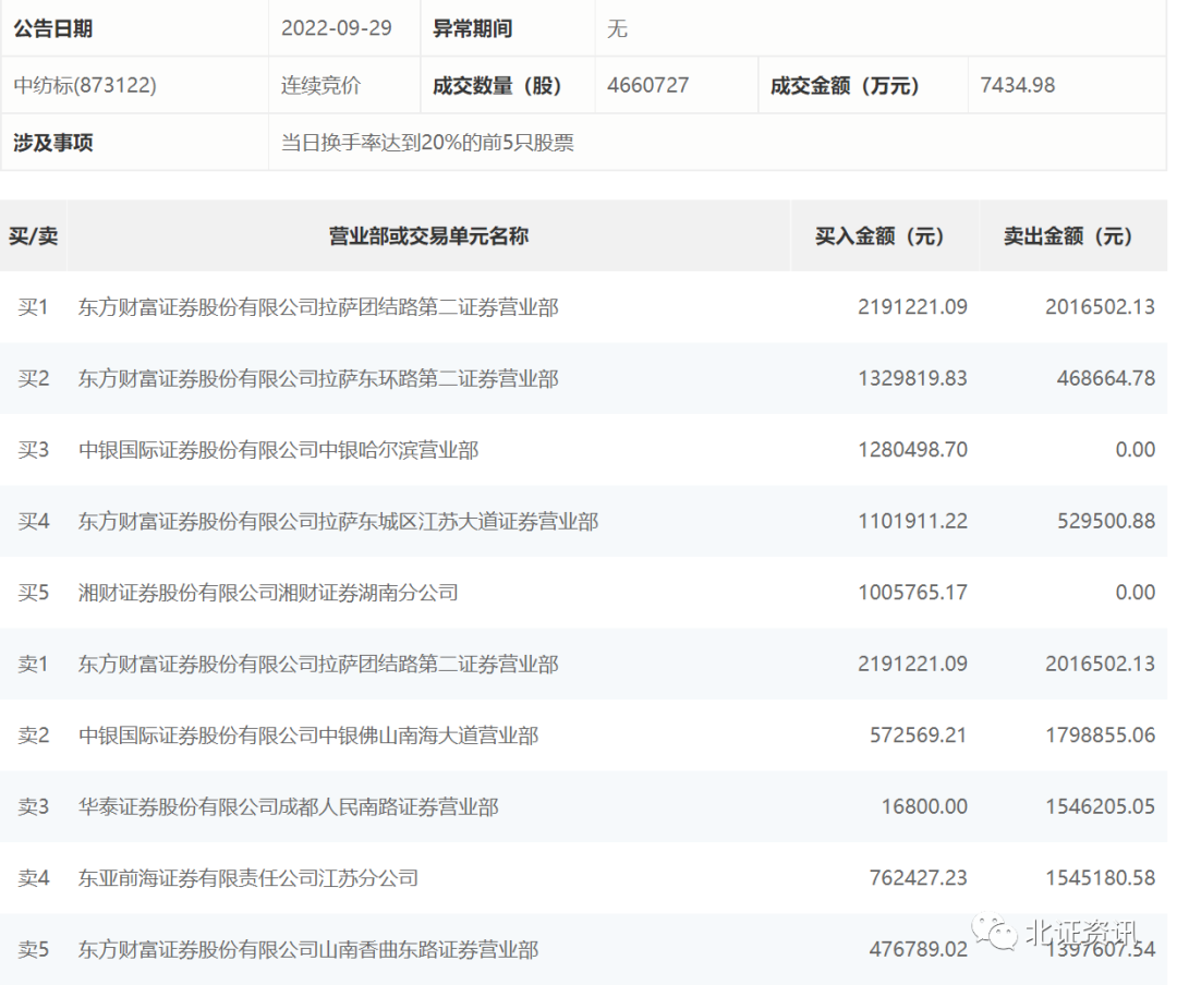
中纺标的买一、买二席位则被拉萨天团占领,东方财富证券拉萨团结路第二证券营业部买入219.12万元的同时卖出201.65万元;东方财富证券拉萨东环路第二证券营业部买入132.98万元的同时卖出46.87万元。中银国际证券股份有限公司中银哈尔滨营业部、东方财富证券拉萨东城区江苏大道证券营业部、湘财证券湘财证券湖南分公司的买入额也超过1000万元。


需理性参与北交所打新
近期次新股的强势表现成为北交所的一个特色,硅烷科技、昆工科技、中纺标、海泰新能、惠丰钻石等次新股竞相争艳,轮番表演,令投资者眼花缭乱。
对于近期北交所次新股表现红火,资深新三板评论人、北京南山投资创始人周运南认为,首先是榜样效应,受益于近期北交所以昆工科技为龙头的次新股板块整体大幅上涨的直接带动,9月1日上市的昆工科技16个交易日中从6.85元一直涨到昨天的最高25.6元,最大累计涨幅273.32%,仅次于元旦前后的大牛股森萱医药19个交易日从7.58元涨至38.78元。还有就是特色效应,北交所新股本身具备的小流通股本或低价格发行或高成长性等各自特色,能吸引到众多投资者的关注;值得一提的还有改革效应,是对9月2日北交所设立一周年推出北证50、两融业务等政策利好的回应,以及对11月15日开市一周年政策利好的期待。
对比一下,北交所还是有估值优势,硅烷科技虽然也引入询价发行,但因为询价主体多元化,价格博弈更充分,反而询价出来的价格不是特别高,发行市盈率才25倍左右,动态市盈率10倍左右。至于中纺标就是充分利用了北交所的发行制度优势,发行后的流通股份比例不到10%,几乎没有老股。新三板市场资深人士、广东力量股权投资基金管理有限公司总经理朱为绎说。
申银万国证券则认为,北交所网下打新可持续关注,同时提醒警惕投资风险。其认为,虽然北交所新股流动性不及沪深交易所,但不乏优质标的,同样可为投资者带来较高的投资回报。当然,北交所成立以来已上市新股破发率约23.5%,并非无风险投资市场,投资者在申购时也需要理性参与,以价值投资为主导。
值得一提的是,十一长假后新股发行仍然是北交所的一个重头戏。
例如,长假后的第一个交易日(即10月10日),北交所即举行2022年第51次审议会议,倍益康、迅安科技上会。这两家公司均是省市级专精特新企业,且业绩表现较好。倍益康是一家智能康复设备制造商,产品包含力因子类、电因子类、热因子类等康复产品,涵盖医疗及消费市场,帮助大众解决在亚健康、运动损伤及预防等领域的健康问题。今年上半年公司实现营业收入2.02亿元,同比增长63.81%,净利润4365.72万元,同比增长44.06%。迅安科技主要从事电焊防护面罩、电动送风过滤式呼吸器及相关配件的研产销,产品应用于机械制造、金属加工、汽车、建筑、航空航天、船舶、维修、采矿、个人防护等行业,远销欧美等多个国家和地区,并与国际知名的焊接设备生产集团、专业工具连锁超市、专业焊接设备个人防护贸易商保持合作。

同时,夜光明将于10月10日启动申购,中科美菱公布发行结果,而新芝生物则正式登陆北交所。
新芝生物公开发行价为15元/股,发行市盈率为30.12倍,发行股份数量2219万股,募集资金总额为3.33亿元,其上市后将成为北交所实验仪器第一股。新芝生物是一家专业为生命科学研究与产业化领域用户提供科学实验仪器、设备的高新技术企业,2021年入选工信部第三批专精特新小巨人企业名单。
编辑:朱雨蒙
校对:王蔚
版权声明
证券时报各平台所有原创内容,未经书面授权,任何单位及个人不得转载。我社保留追究相关行为主体法律责任的权利。
转载与合作可联系证券时报小助理,微信ID:SecuritiesTimes
END

点击关键字可查看
潜望系列深度报道丨股事会专栏丨投资小红书丨e公司调查丨时报会客厅丨黑幕调查丨十大明星私募访谈丨重磅!央行等放宽首套房贷利率下限,至少23城符合标准!影响多大?专家火线解读丨合同金额657亿!300亿市值公司一天敲定两单硅料长单丨保时捷上市了!创欧洲10年来最大IPO,市值直追比亚迪…丨人民币暴涨千点!央行重磅会议:加强预期管理,增强汇率弹性!保交楼、LPR、平台监管也有提及

“比特财经”的新闻页面文章、图片、音频、视频等稿件均为自媒体人、第三方机构发布或转载。如稿件涉及版权等问题,请与
我们联系删除或处理,客服邮箱:bitokx@163.com,稿件内容仅为传递更多信息之目的,不代表本网观点,亦不代表本网站赞同
其观点或证实其内容的真实性。
